產品應用:離子交換樹脂
離子形式:Na+
樹脂類型:強酸陽離子交換樹脂
產地:美國
是否進口:進口
包裝說明:25升/袋,50升/桶
產品簡介:
AmberLite™HPR1100Na樹脂是一款工業軟化樹脂,當需要高性能和經濟高效的操作時,它是用于工業軟化應用的高質量樹脂。優化了樹脂的化學性質和粒度,以幫助獲得出色的操作能力和沖洗特性,同時減少了化學再生劑和沖洗水的用量。
產品優勢:
AmberLite™HPR1100Na樹脂顆粒非常均勻,能夠有效降低樹脂的破損率。
能夠有效去除水中的陽離子,且交換速度快,產水質量高,清洗操作方便。
優化了樹脂的化學性質和粒度,以幫助獲得出色的操作能力和沖洗特性,同時減少了化學再生劑和沖洗水的用量。
物理、化學穩定性好,只需要定期清洗、再生即可恢復性能,且產水非常穩定。
詳細參數:
| 名稱 | 杜邦AmberLite™HPR1100Na | |
| 離子類型 | Na | |
| 總交換容量 | eq/l | ≥2.0 |
| 含水量 | % | 42-48 |
| 粒徑 | um | 585±50 |
| 均勻系數 | ≤1.10 | |
| <300um | % | ≤0.5 |
| <850um | % | ≤5.0 |
| 無裂紋率 | % | ≥95 |
| 可逆膨脹 | Ca→Na | 5% |
| Na→H | 8% | |
| 顆粒密度 | g/mL | 1.29 |
| 運輸重量 | g/L | 850 |
| 使用溫度 | ℃ | 5-150 |
| ℉ | 41-302 | |
| ph范圍 | 1-14 | |
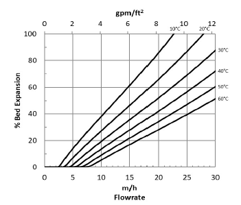
樹脂反洗膨脹:

壓力下降:

儲存方法:
1.杜邦樹脂原包裝內部通常含有保護液,所以在儲存時應盡量不要打開樹脂包裝,直接將樹脂儲存在倉庫內即可。
2.杜邦AmberLite™HPR1100Na樹脂的儲存溫度通常在5-40℃之間,儲存溫度不能超過這個范圍,否則會對樹脂的性能造成影響。
3.樹脂在儲存時應避免與其他物質接觸,防止其他物質上還有有機物、微生物等雜質,這些雜質會對樹脂造成一定程度的污染。
注意事項:
樹脂在使用時,應避免與油脂、微生物、有機物、金屬離子等物質接觸,這些物質過多會吸附在樹脂上,將樹脂的孔徑堵塞,也就是我們常說的污染、中毒,樹脂嚴重污染將無法繼續使用。
服務保障
藍膜出售所有羅門哈斯樹脂均為原裝正品,如有發現假冒偽劣產品,假一賠十。收件時請您與貨運人員當面核對商品的數量、商品是否損壞等情況,如確認無誤則可簽收貨品,如發現數量不符、商品不符、商品損壞等可當場聯系客服(根據實際情況協調處理)。
采購流程:
在線咨詢→選擇產品→確認下單→確認合同→付款→倉庫發貨→開票及售后服務→定期回訪
IRN160樹脂資料下載:>>點擊下載<<
本站只展示了部分羅門哈斯樹脂產品,如需羅門哈斯公司其他型號的樹脂產品可聯系在線客服。



![[field:title]](/uploads/allimg/200623/3-2006230R953.jpg)
![[field:title]](/uploads/allimg/200623/3-2006230S011.jpg)
![[field:title]](/uploads/allimg/200623/3-2006230S026.jpg)
